28

Microsoft ha registrato un brevetto che mira a tracciare come giocano gli utenti

Micrososft ha registrato un brevetto che mira a tracciare il comportamento degli utenti in gioco.

NOTIZIA di Simone Tagliaferri   —   30/12/2022
Microsoft ha registrato un brevetto che mira a tracciare come giocano gli utenti

Un nuovo brevetto registrato da Microsoft sembra puntare al tracciamento del comportamento degli utenti di fronte a certi eventi di gioco, così da capire meglio come giocano. Si tratta di un ulteriore sforzo fatto nella direzione di produrre esperienze più coinvolgenti, sempre nel rispetto della privacy.

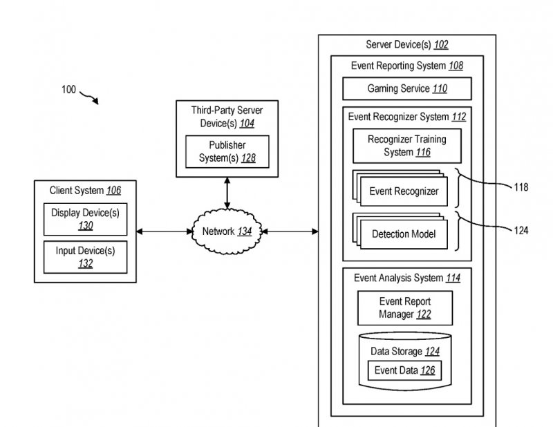
Brevetto di Microsoft per tracciare comportamento degli utenti
Brevetto di Microsoft per tracciare comportamento degli utenti

L'idea dietro al brevetto è quella di tracciare diversi eventi di gioco, come la progressione nei livelli, il numero di volta che si mette in pausa, le statistiche di vittoria e moltissimi altri elementi che caratterizzano il gameplay.

Il sistema non sarà dedicato a un solo gioco, ma a diversi, oltretutto su più piattaforme. Naturalmente sarà adattabile alla bisogna, ossia al genere di gioco, al sistema su cui gira e a tutte le altre occorrenze del caso.

Uno degli obiettivi della nuova tecnologia di tracciamento è quello di fornire dei resoconti completi dei giocatori competitivi le cui carriere si espandono su più titoli e generi. Tra i dati desiderati spiccano quello sulle statistiche dei risultati delle partite e sulla durata dalle stesse. Incidentalmente questo brevetto sembra essere collegato in qualche modo a un altro, sempre di Microsoft, pensato per analizzare le competizioni esport.

Altri utilizzi del nuovo sistema dovrebbero essere quelli di tracciare gli abusi degli utenti, la frequenza del manifestarsi di alcuni bug legati a determinati eventi e altre situazioni inattese. Importante sottolineare che sarebbe basato sul cloud gaming e non andrebbe a consumare banda del giocatore, evitando così cali di performance. Inoltre, essendo basato su contenuti di gioco quali video, audio e input del controller, funzionerà senza bisogno di accedere al software, al codice sorgente e senza dover processare i segnali di una particolare applicazione.

Come sempre in questi casi, non è chiaro se il brevetto troverà mai un'applicazione pratica, quindi non datelo per scontato.

Questo contenuto potrebbe includere link affiliati che generano commissioni.
Per conoscere i dettagli della nostra policy editoriale, è disponibile la pagina etica.