57

Sony: una tecnologia per scansionare oggetti e ricrearli nei giochi svelata da un brevetto

Un brevetto registrato da Sony svela una tecnologia per scansionare oggetti nel mondo reale e ricrearli in mondi virtuali.

NOTIZIA di Stefano Paglia   —   08/01/2022

Un brevetto di Sony, che potrebbe benissimo essere legato a PlayStation VR2, svela una tecnologia che permetterebbe agli utenti di scansionare oggetti reali per poi ricrearli un mondo virtuale.

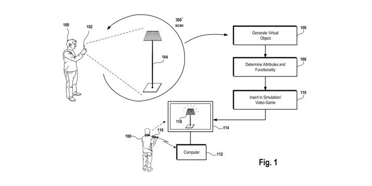
Avvistato dai colleghi di Game Rant, questo prototipo parla di come gli utenti possono per l'appunto scansionare un qualsiasi oggetto reale (nell'esempio qui sotto vediamo una lampada da salotto) per poi ricrearne il modello poligonale all'interno di una simulazione o un gioco, con la possibilità anche di modificare alcune proprietà dell'elemento.

Un'immagine che illustra il funzionamento della tecnologia brevettata da Sony
Un'immagine che illustra il funzionamento della tecnologia brevettata da Sony

Si tratta di una tecnologia simile a quella citata in un precedente brevetto di Sony, che permettere di usare cose comuni, come le banane, al posto dei controller, ma in questo casa si parla di oggetti di dimensioni più grandi, a patto di poterli scansionare a 360°.

Il brevetto è stato registrato da Sony la scorsa estate ma è stato aggiornato recentemente con nuovi dettagli su richiesta dell'ufficio competente per chiarire alcuni aspetti di questa peculiare tecnologia. Le sue applicazioni potrebbero essere molteplici e interessanti, in particolare nell'ambito della realtà virtuale.

Non è escluso infatti che Sony possa sfruttare questa tecnologia per un software dedicato per PlayStation VR2 e che potrebbe accompagnare il lancio della periferica, di cui recentemente sono stati svelate le specifiche tecniche ufficiali. Tuttavia potrebbe trattarsi anche di un progetto che non vedrà mai la luce, come successo in passato con altri prototipi della compagnia.

Questo contenuto potrebbe includere link affiliati che generano commissioni.
Per conoscere i dettagli della nostra policy editoriale, è disponibile la pagina etica.